Доставка оборудования по всей Беларуси.
Вибратор ИВ-106 - электромеханический общего назначения с круговыми колебаниями: Это дебалансный центробежный механизм, вынуждающая сила которого вызывается вращательным движением инерционного элемента.
Область применения
Вибратор ИВ-106 предназначен для возбуждения вибрации в установках по уплотнению бетонных смесей и грунтов, транспортированию, выгрузке и просеиванию сыпучих материалов, привода вибропитателей, виброплощадок и других технологических работ.
Принцип работы
Вибратор представляет собой электродвигатель с установленными на концах вала ротора дебалансами. Дебалансы, вращаясь с валом ротора, создают центробежную (вынуждающую) силу. Регулирование величины вынуждающей силы вибратора осуществляется путём изменения взаимного расположения дебалансов на обоих концах вала. Круговые колебания вибратора, передаются конструкции, на которой он установлен.
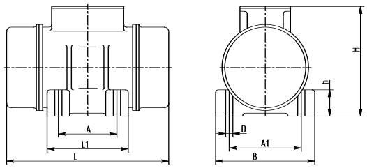
Габаритные размеры

Нет отзывов об этом товаре.
